| Sign In | Join Free | My isp.org.cn |
|
Brand Name : MICH
Model Number : EPIMIHROT
Certification : ISO9001
Place of Origin : China
MOQ : 1 piece
Price : USD20-USD200,000
Supply Ability : As per the product output capacity
Delivery Time : in one month
Packaging Details : plywood crates
Heating Element : mineral insulated heating cable
Property : Immersion
Function : Heating
Structure : Solid
Output : 3-25 KW
Voltage : 220, 380, 600 etc
Power Phases : 2 or 3
Immersion Length : up to 6600 mm
Explosion-proof immersion electric heating rod for oil tank (hereinafter referred to as electric heating rod) is an electric heating device designed to raise the temperature of the medium in oil tank. The electric heating rod uses a mineral insulated (MI) heating cable as heating element. With a firm and durable structure, it possesses a reliable function with long service life and no coke generated in the heated medium. The electric heater is installed on the wall of the container by inserting into the medium to heat various liquid or gas medium. This product is widely used in petroleum, chemical, pharmaceutical, water treatment, food processing, commercial oil depot, power generation and other departments, especially suitable for heating heavy and high viscosity oil, or medium with high temperature or quality requirements (such as crude oil, asphalt, residual oil, heavy diesel oil, animal fat and vegetable oil, etc.). Typical applications include hot water tanks for offshore oil platforms and fuel oil tanks for commercial oil depots.
![]()
![]()
![]()
![]()
![]()

3. Technical Properties
1. The heating element is a mineral insulated (MI) heating cable with properties of good thermal conductivity and small temperature difference between the heating core and the metal sheath. According to personized process requirements, the surface heat load density of the MI heating cable can be accurately designed. Under the premise of ensuring the total heat output, the heated medium is not coked or charred. It has solved the shortcomings of the conventional tubular electric heater which has long-term carbon deposition, blasting, core breaking and short life. The heating element can be with a copper sheath and a stainless steel sheath according to the user's place of use and medium.
2. The overall structure is small and solid, with high mechanical strength and installed as an inserted immersion type.
3. It heats evenly with a high heat exchange efficiency.
4. The electric heater is designed to meet the structural requirements of various types of storage containers for petroleum and chemical products. The device connection and electrical connection are in compliance with explosion-proof requirements with a rating of dIIB T1~T6.
5. It possesses reliable work, long service life, convenient operation and maintenance, and no daily maintenance required.
6. Electric heaters have good corrosion resistance to the medium of petroleum, chemicals and their finished products.
7. The heater body has good pressure sealing performance, safe to use with working pressure of 0.1MPa ~ 6.4MPa.
8. A temperature sensor is installed inside the heater body to detect the temperature of the oil, the overheating of the oil, and the surface temperature of the heating element.
9. The product has strong adaptability and practicability. Non-standard type electric heaters can be designed and fabricated according to different purposes and special requirements provided by users.
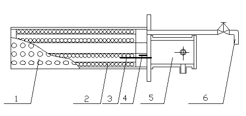
1.Structure
The electric heater is comprised of 6 parts (see draft 1)

⒈ Outer Casing ⒉ Mineral Insulated Heating Cable⒊ Over-temperature Protector⒋Temperature measuring electric resistor⒌Electrical junction box⒍Oil outlet pipe (If necessary)
Figure 1: Schematic diagram of the explosion-proof electric heater for tanks
2. working principle
When the electric heater is turned on, the temperature of the medium naturally rises along the heating element (heating cable), and the cold medium flows in around the heating element to replenish. Repeated thermal is convective flowed and circulated, so that the medium temperature gradually increases with the increased heating time. A temperature measuring sensor is installed on the wall of the container, the temperature signal is collected and transmitted to the electronic control system, and the temperature control instrument controls the primary circuit to realize automatic temperature control of the oil temperature. If the electric heater or the heating element is overheated, the protection device automatically cuts off the power supply, and the control cabinet emits an audible and visual alarm signal (for details, please refer to the instruction manual of the WK series electric heating control cabinet).
3. Technical data
Table 1 Technical data and dimensions of container explosion-proof electric heater
| Model | Rated power (kW) | Rated voltage (V) | Rated current (A) | Number of power phases | Allowable working pressure MPa | Dimensions (mm) | Junction box hole diameter (mm) | Body weight (kg) | Remarks | |||
| Casing length | heat pipe length | flange diameter | oil outlet pipe diameter | |||||||||
| RDRQ-3/220 | 3 | 220 | 13.5 | 1 | 2.5
4.0 | 1090 | 790 | Φ114 | DN25
DN40 | Φ30×1 Hole Φ25×1 Hole | 85 | Draft 2 |
| RDRQ-5/220 | 5 | 220 | 22.5 | 1 | 1380 | 1080 | Φ159 | 105 | ||||
| RDRQ-7.5/220 | 7.5 | 220 | 34 | 1 | 1610 | 1310 | Φ219 | 120 | ||||
| RDRQ-10/3/380 | 10 | 380 | 15 | 3 | 3000 | 2800 | Φ219 | Φ30×2 Holes Φ25×1 Hole | 112 | |||
| RDRQ-15/3/380 | 15 | 380 | 22.5 | 3 | 3200 | 3000 | Φ219 | 131 | ||||
| RDRQ-20/3/380 | 20 | 380 | 30 | 3 | 3400 | 3200 | Φ219 | 139 | ||||
| RDRQ-30/3/380 | 30 | 380 | 45 | 3 | 4000 | 3800 | Φ219 | Φ40×2 Holes Φ25×1 Hole | 147 | |||
| RDRQ-50/3/380 | 50 | 380 | 75 | 3 | 4800 | 4200 | Φ219 | 155 | ||||
| RDRQ-80/3/380 | 80 | 380 | 120 | 3 | 6000 | 5600 | Φ219 | 170 | ||||
|
|
Explosion-proof Immersion Mineral Insulated Heating Rod for Oil Tank Images |